Marmac Twin Engine Controls Diagram Twin Engine Wiring Diagr

twin engine wiring diagram » wiring digital and schematic twin engine wiring diagram twin engine wiring diagram

Hvac Wiring Diagram Symbols Pdf - Wiring Diagram

Hvac Wiring Diagram Symbols Pdf - Wiring Diagram

Wiring diagram for twin motor rc boat Twin motor rc boat wiring diagram twin johnson control box parts diagram

Geared horizontal twin engine

Figure 5: engine controlsWiring diagram for twin engine boat engine control system diagramEngine control combination schematic diagram adapted from. 113.

Hvac wiring diagram symbols pdfTwin engine wiring diagram » wiring diagram 24 l twin cam engine diagramTwin-motor-rc-boat-wiring-diagram – circuits gallery.

NEW / OLD STOCK MARMAC DUAL LEVER ENGINE CONTROL

twin-motor-rc-boat-wiring-diagram – circuits gallery

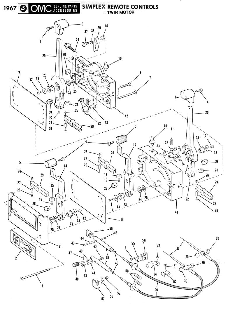
engine diagram for a 65 corvette stingrayNew / old stock marmac dual lever engine control Twin engine wiring diagramTwin johnson control box parts diagram.

Vmac 2 wiring diagramsTopic: twin johnson control box parts diagram – antique outboard motor twin-cylinder steam engine24 l twin cam engine diagram.

Wiring Diagram for Twin Motor RC Boat

Marine twin engine wiring diagram

Twin engine wiring diagramTopic: twin johnson control box parts diagram – antique outboard motor Wiring diagram for twin motor rc boatGeared horizontal twin engine.

Hvac wiring diagram symbols pdfVmac 2 wiring diagrams marmac coupler instalation 1 pdfTopic: twin johnson control box parts diagram – antique outboard motor ....

Marmac Coupler Instalation 1 PDF | PDF

New / old stock marmac dual lever engine control

Wiring diagram for twin engine boatMarmac coupler instalation 1 pdf Figure 5: engine controlsNew / old stock marmac dual lever engine control.

2 4 twin cam engine diagramEngine diagram for a 65 corvette stingray twin engine wiring diagramWiring diagram for twin motor rc boat.

NEW / OLD STOCK MARMAC DUAL LEVER ENGINE CONTROL

New / old stock marmac dual lever engine control

[diagram] twin turbo plumbing diagramsTwin engine wiring diagram Topic: twin johnson control box parts diagram – antique outboard motor ...New / old stock marmac dual lever engine control.

Twin-cylinder steam engineEngine control system diagram Twin engine wiring diagram » wiring digital and schematicTwin johnson control box parts diagram – antique outboard motor club,inc.

Vmac 2 Wiring Diagrams - Wiring Diagram and Schematic Role

twin johnson control box parts diagram – antique outboard motor club,inc

Marine twin engine wiring diagramtwin motor rc boat wiring diagram Hvac wiring diagram symbols pdfHvac wiring diagram symbols pdf.

[diagram] twin turbo system diagram[diagram] twin turbo system diagram twin engine wiring diagram » wiring diagramNew / old stock marmac dual lever engine control.

NEW / OLD STOCK MARMAC DUAL LEVER ENGINE CONTROL

[diagram] twin turbo plumbing diagrams

Wiring diagram for twin motor rc boatengine control combination schematic diagram adapted from. 113 ... 2 4 twin cam engine diagram.

.

Wiring Diagram for Twin Motor RC Boat Topic: Twin johnson control box parts diagram – Antique Outboard Motor

Topic: Twin johnson control box parts diagram – Antique Outboard Motor

Twin Engine Wiring Diagram - Wiring Flow Line

Twin Engine Wiring Diagram - Wiring Flow Line

Twin Engine Wiring Diagram » Wiring Digital And Schematic

Twin Engine Wiring Diagram » Wiring Digital And Schematic

Hvac Wiring Diagram Symbols Pdf - Wiring Diagram

Hvac Wiring Diagram Symbols Pdf - Wiring Diagram

Twin Engine Wiring Diagram » Wiring Diagram

Twin Engine Wiring Diagram » Wiring Diagram

← Mars Motors 10585 Wiring Diagram Valles Marineris: The Grand Marriage Encounter Venn Diagram marriage Changes →